马学民1施学昭1赵鹤1张兰云1贵童1王梦冉1 史晨昱2
(1国网河南省电力公司周口供电公司,河南 周口 466000 2国网河南省电力公司郑州供电公司河南 周口 466000 )
摘要:本文通过对目前暂态波型故障采集器安装方式的现状分析,提出研制一种暂态波型故障采集器安装工具,主要研究关于暂态波型故障采集器安装工具的技术研究,具体包括故障采集器安装工具模具、故障采集器安装工具的技术方案、故障采集器安装工具的优越性、故障采集器安装工具的实用性,旨在保证施工人员人身安全和准时完成每天的工作任务。
关键词:;故障采集器;安装工具;工作任务
0引言
随着智能电网的大力发展,为了减少故障率,提高配电网运行水平,供电公司在架空线路上投入大量的故障采集器。然而在安装过程中发现安装一套故障采集器花费时间过多,采集器安装复杂,费时费劲,并且由于安装采集器的型号不同,需要人为将故障采集器安装在架空线路上,安装困难,操作不便,这即增多了安装时间且增大安装难度。为保证施工人员人身安全和准时完成每天的工作任务,研究出架空线路故障采集器安装工具势在必行。本文主要针对关于暂态波型故障采集器安装工具的技术研究[1]。
1现状
输配电线路传输距离远,支线多、大部分的架空线路环境和气候条件恶劣,设备故障和雷电等自然灾害常常造成故障率较高。 一旦出现故障停电,首先给人民群众生活带来不便干扰了企业的正常生产经营;其次,给供电公司造成较大损失;再者一条线路距离较长分支又多呈网状结构,查找故障,非常困难,浪费了大量的人力,物力。故障采集器主要用于架空电线路上可检测短路和接地故障并指示出来,可以实时监测线路的正常运行情况和故障发生过程。在架空线路中会出现单相接地故障、短路故障、短路故障等故障原因,而故障采集器则是实时快速了解这些问题,为运维人员提供帮助。
随着智能电网的大力建设,为了更好的提高配电网的运行水平,减少故障停电时间,供电公司在架空线路上投入大批量的故障采集器。在安装故障采集器的过程中发现安装一套的平均时间为30分钟,大约有25分钟是花费在安装采集器这一环节中。而在安装采集器这一环节中,发现采集器安装复杂,费劲费时,并且由于安装采集器的型号不同,需要人为将故障采集器安装在架空线路上,安装十分困难,操作极度的不便,这无疑大大增加了安装时间与安装难度。为了节约安装时间,并且保证施工人员人身安全和准时完成每天的工作任务,本文研究一种新型架空线路故障采集器安装工具。
2研究内容
(1)研究故障采集器安装工具模具
本项目根据暂态波故障采集器的型号与安装步骤,将故障采集器安装工具做成内嵌式,这样更加的简便,安装更加省力省时。对新研究的安装工具的外壳材料的材质进行分析选型。对新研究的安装工具的外壳材料厚度进行分析与研究。对新研究的安装工具的卡线和弹簧进行分析和选择。对新研究的安装工具的深度(长度)进行分析,目的就是要确保安装工具不能超过国网规定重量,达到项目要求。
(2)研究故障采集器安装工具的技术方案
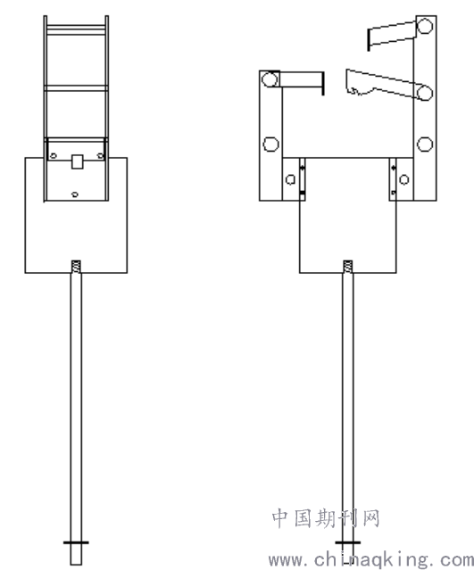
一种故障采集器安装工具,包括安装工具外壳、U型启簧器、固定片、固定横杆和螺栓,所述采集器本体的下方设置有警示灯,且警示灯的外侧安装有保护外罩,所述保护外罩的顶端与采集器本体相连接,所述固定片固定在采集器本体的上表面,且固定片的内侧设置有伸缩弹簧,所述伸缩弹簧的一端与固定片相连接,且伸缩弹簧的另一端与固定块相连接,所述固定块的内侧设置有放置凹槽,且放置凹槽的内部固定有连接杆,所述连接杆位于第一滚轮的中心位置,且第一滚轮位于放置凹槽的内部,所述第一滚轮与连接杆之间构成转动连接,所述电缆本体与第一滚轮相接触,所述固定横杆位于固定块的顶端,且固定横杆上固定有固定挡板,所述固定挡板与相邻固定挡板之间设置有第二滚轮,且第二滚轮位于固定横杆的中间位置,所述螺栓位于固定块的两侧,且螺栓与固定横杆之间为螺纹连接[2]。
(3)研究故障采集器安装工具的优越性
在新研究的故障采集器安装工具中固定片共设置有两个,且固定片关于采集器本体的中心线呈轴对称设置,同时固定片的高度大于电缆本体的直径。伸缩弹簧设置有两组,伸缩弹簧每组设置有两个,且伸缩弹簧关于采集器本体的中心线呈轴对称设置。固定块共设置有四个,且固定块内侧的形状结构为弧形。放置凹槽共设置有四组,且放置凹槽每组设置有三个,同时放置凹槽的深度小于第一滚轮的直径。固定横杆与固定片构成拆卸安装结构,且固定横杆与第二滚轮之间构成转动连接。固定挡板共设置有两个,且固定挡板关于固定横杆的中心线呈轴对称设置,同时固定挡板的直径小于第一漆轮的直径[3]。
(4)研究故障采集器安装工具的实用性
本项目在新型固定片的内侧固定有伸缩弹簧,同时伸缩弹簧的一端与固定块相连接,固定块共设置有四个,这样可以很好的将电缆本体固定在固定块之间,同时因为伸缩弹簧的存在,方便固定块的移动,这样便于适应不同直径的电缆本体;新型放置凹槽设置在固定块的内侧,同时放置凹槽的内部设置有第一滚轮,并且第一滚轮与连接杆之间构成转动连接,这样在寻找电缆的故障点时,方便采集器本体进行移动;新型第一滚轮与第二滚轮的材质均为弹性材质,这样便于第一滚轮与第二滚轮的伸缩,当不需要在电缆本体上进行移动,因为第一滚轮和第二滚轮与电缆本体之间的摩擦力可以防止采集器本体的移动。
.png)
图1.暂态波故障采集器安装工具简图
3创新点
(1)通过对现有的故障采集器安装要求的分析,研制了暂态波型故障采集器安装工具,解决了本类采集器没有专用安装工具的问题,比以往的安装方法节约了大量的时间,省时省力,使故障采集器安装更加便捷。
(2)本项目采用新型固定横杆与固定片构成拆卸安装结构,且固定横杆与第二滚轮之间构成转动连接,这样便于整个安装工具的拆卸和安装,同时第二滚轮的设置可以固定高压线路本体,防止故障采集器本体与高压线路本体之间产生相对移动,避免对高压线路造成损害。
4结语
通过本文的研究,得出结论:本文根据架空线路暂态波故障采集器安装特点,结合实际情况,创新的研究、设计了一种架空线路故障采集器的安装工具。解决了在架空线路安装故障采集器原有因安装时耗时耗力的问题,同时使故障采集器安装的更加牢固,并且不损伤线路,为运维工作带来了极大的便利,实现高水准的运维水平。
参考文献:
[1]张海涛, 张召龙. 浅谈10千伏线路故障采集器安装[J]. 供电企业管理, 2012, 000(006):51-51.
[2]李功新. 10kV架空配电线路故障采集器带电安装[M]. 中国电力出版社, 2012.
[3]邹广达, 姚志良, 李烨,等. 一种10kV架空故障采集器带电拆装工具:, CN210849054U[P]. 2020.