马卓俊1陈希岚2颜辉2
1.嘉兴市众业供电服务有限公司 浙江省嘉兴市 314000
2.嘉兴市恒光电力建设有限责任公司工程服务分公司 浙江嘉兴314000
摘要:电力信息通信技术是智能电网建设的核心支撑技术,覆盖着整个电网的信息交互,是完成可靠、安全、高效电力传输的基础。同时,智能电网的建设也为电力信息通信技术的发展提供了新的机遇。电力信息通信数据智能运维技术通过集约化管理对电力通信网运行情况进行分析,对电力通信运维体系进行优化,能够有效提高电力通信智能化水平,提升电力通信网络的可靠性,及时对电力网络通信故障进行监测及修复,维护电力设备的正常运行。对电力系统有着重要作用。
关键词:电力;信息通信;数据;智能运维
1 电力信息通信数据智能运维技术分析研究
1.1 电力信息通信数据特征分析
为了有效分析电力信息运维效果,本文以某地市供电公司为例,对电力信息通信数据特征进行分析。电力信息通信数据来源众多,为了能够精确的获取电力信息通信数据特征,首要的任务就是分析电力信息通信数据来源,具体数据来源情况如表1所示。
.png)
电力信息通信数据类型主要分为两种,分别为结构化数据与非结构化数据。结构化数据指的是利用采集器在目标设备中直接获取的数据;非结构化数据指的是通过处理、分析日志文件间接获取的数据。
对于非结构化数据来说,其对应的维度、格式、时间均是依据自身需求设置的,为了简化电力信息通信数据的运维过程,需要将非结构化数据进行归一化处理,使其与结构化数据标准一致,便于电力信息通信数据特征分析、处理以及运维。
电力信息通信数据归一化处理公式表示为:
.png)
1.2 数据智能运维模型构建
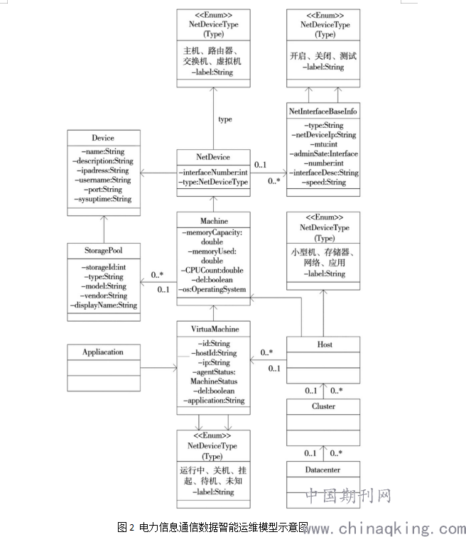
以某地市供电公司为例分析的电力信息通信数据特征为基础,构建电力信息通信数据智能运维模型。数据智能运维模型主要分为静态、动态两种关系,资源抽象层级以“设备”对象为核心,实现了逻辑资源与物理的关联。
通过对比研究发现,静态关系数据智能运维模型更加稳定,数据运维性能更佳。静态关系模型描述了数据中心、物理设备、网络设备、存储设备、虚拟机、机器集群等装置之间的关联关系,并实现了内存、存储、网络接口、CPU等可分配资源与设备之间的关联关系。而应用程序实质上是业务资源,也被考虑在了静态关系模型之中,通过与机器的多对多关系,实现了一个应用程序分布至多台机器运行的关系描述。
通过上述设备与资源的关联描述以及设备的抽象层级,实现了数据智能运维模型资源的关联与约束。例如,网络设备抽象描述完成了网络端口与相应设备的关联;机器抽象描述完成了物理机器与虚拟机的统一管理与处理等。
电力信息通信数据智能运维模型见图2。
.png)
所有设备均可以产生日志记录,数据结构如表2所示。
.png)
1.3 数据智能运维日志分类
日志是一种非结构化数据,包含着大量的数据信息,对数据运维至关重要。以上述获取的日志记录数据结构为基础,分类处理数据智能运维日志,具体分类步骤如下所示:
步骤一:针对日志条目进行分词处理;
步骤二:将步骤一得到的分词与日志条目建立关联关系,以此为基础,利用分类算法对处理数据智能运维日志进行类别划分;
步骤三:将步骤二得到的日志类别划分结果进行存储与输出。
数据智能运维日志分类是数据运维的一个重要环节,可以为后续数据运维环节提供便利。对于数据智能运维日志来说,每个日志属于一个类,也能够属于不同级别的多个类。
经过对现有文献研究发现,FCM算法满足正态分布,可以得到较为精准的类别划分结果。故选取FCM算法作为此研究的日志分类算法。FCM算法程序如下所示:
输入:设置聚类数目C与聚类参数b;
输出:日志分类结果。
step 1:聚类中心m初始化;
step 2:REPEAT:
step 3:基于当前的聚类中心计算隶属度函数;
step 4:采用隶属度函数描述聚类中心;
step 5:UNTIL各样本隶属度值获取,其结果即为日志分类结果,对其进行保存并输出。
2 技术性能实验分析
上述过程实现了电力信息通信数据智能运维技术的设计,为了验证提出技术是否能够改善现有技术存在的问题,设计仿真对比实验,具体实验过程如下所示。
2.1 实验数据选取
为了保障实验结果的准确性,选取某地两个电力信息通信系统的数据为实验数据,简称为实验数据集1与实验数据集2,具体实验数据情况如表3所示。
.png)
2.4 实验指标
2.4.1 运维资源耗比
通过电力信息通信数据智能运维技术可以有效降低运维资源耗比,运维资源耗比越少说明智能运维效果越好,反之,运维效果差。通过预测算法获得运维资源耗比。
2.4.2 运维数据容量
电力信息通信数据智能运维技术能够有效提升运维数据容量,运维性能越好提升运维数据容量高,反之,运维数据容量低。
2.4.3 故障检测耗时
为了验证本文方法的智能性,通过故障检测耗时来检验电力信息数据智能运维性能,故障检测耗时越短说明检测效果越好,从而证明电力信息数据智能运维性能越佳,反之,运维效果较差。
3 结束语
本文构建了电力信息通信数据智能运维模型,利用FCM算法进行日志数据分类,通过最小二乘法拟合直线方程计算数据运维容量,实现了电力信息通信数据智能运维技术分析。
通过实验得出,本文方法的故障检测耗时较短,电力信息数据运维智能性较好。解决了传统方法的资源耗比高问题,提升了数据运维的计算容量。但是由于技术限制,在运维容量上仍有提升空间。为此,需要通过提升云端处理器的计算性能,从而提升电力信息通信数据智能运维容量。
参考文献
[1]李斌,徐悦,李蓉.电力信息通信数据智能运维技术分析[J].电子世界,2018(13).
[2]李倡印.大数据的电力信息通信预警技术研究[J].中国新通信,2020(13).