(中国水利水电第八工程局有限公司 410004)
摘要:苏苏项目汽轮机高调阀的线性位移传感器(LVDT)自运行后频繁出现卡涩甚至卡死现象,成为影响机组安全运行的疑难杂症。调试期间就多次更换新的LVDT,但每次更新后正常运行不超一个月,LVDT的测量调节杆就会磨损严重,每当操作高调阀调节负荷时,出现卡涩、大幅度波动,导致机组负荷急剧变化,跳机风险很大,机组各项负荷试验和性能考核试验无法进行。通过对拆下已磨损的LVDT装置进行检查,研究发现市场上这类通用产品的设计缺陷,于是根据其结构特点,就地取材的进行结构改造,不但改造成本低廉,而且圆满解决了现有产品的缺陷,确保了机组的安全稳定运行。
关键词:LVDT;卡涩;振动;磨损;改造
一、概述
印尼苏苏火电项目的汽轮机高调阀配套使用的位移传感器为线性位移传感器(LVDT),自从项目1#机组整体启动带负荷调试后,机组的运行状况不佳,尤其在负荷调节过程中很容易出现高调阀的非线性波动,导致机组的运行工况不稳定,给调试阶段运行人员的操作安全带来很大风险。
机组运行大约一个月后,1#汽轮机四个主汽调节阀的八个线性位移传感器(LVDT)陆续出现问题,操作高调阀调节负荷时就会因出现卡顿、波动而导致机组负荷剧烈变化,甚至还发生过跳机情况。每次停机后检查,发现线性位移传感器(LVDT)的测量调节杆都存在不同程度的磨损,联系厂家技术人员到场重新更换过多次同类型的位移传感器,但每次更换后只能保证一个月左右的正常运行时间,这种更换方式不能从根本上解决问题。
汽轮机高调阀频繁卡涩这个问题成为影响机组高负荷调试和机组最后性能考核试验的疑难杂症,如果不彻底从根源上解决,不但影响项目的重大节点实现,如机组满负荷运行、RB试验、性能考核试验和720h可靠性运行试验等,而且将直接影响机组后续的运行安全和移交验收。
二、故障频发的原因分析
利用1#机组的停机机会,技术人员将四个高调阀的八个LVDT装置拆下检查,发现每个LVDT的测量调节杆磨损严重,尤其在测量调节杆与装置本体端口的接触位置,不锈钢材质的杆已经磨出了一道道很深的凹槽,并且每根杆上的磨损区无论从磨损程度还是从位置上看都很有相似性,正是这些被磨出的凹槽导致测量调节杆上下运动受阻。
据调查了解后发现,目前国内常见的汽轮机高调阀上设计配套的LVDT,大多属于直线位移传感器。汽轮机运行过程中,油动机跟随负荷调整的需要而进行相应的动作,LVDT的测量调节杆在测量线圈内壁形成的滑道内上下移动,通过测量调节杆上导磁材料引起的磁通量变化强度,将高调阀的实际开度信号反馈至DCS系统,并与高调阀开度的指令信号相比较的差值进行PID运算,运算的指令结果再发给油动机执行,直到所需达到的开度。如果测量调节杆卡死,实际的高调阀开度就会与指令开度不一致,但是控制系统中的开度指令一直将处于执行状态,只是测量调节杆受外力作用无法完成。
机组在固定负荷运行时,LVDT的测量调节杆在测量线圈的滑道内处于一个稳定的位置,由于高温高压蒸汽流经阀体时带来的振动,将导致安装在油动机阀体上的LVDT测量调节杆在滑道内频繁振动,使得测量结果与实际状态存在一定误差,导致高调阀的开度无法及时按照预定指令调整到位或发生跳变。时间稍久后,由于LVDT的测量调节杆与装置外壳端口处定位板为直接刚性接触,因振动受到长期的高频刚性碰撞与摩擦后,产生凹凸磨损,严重时端口定位板则直接嵌入到测量调节杆中,导致其卡死无法在滑道内正常上下运行,这就意味着相应高调阀的开度无法调节。
此外,如果测量调节杆在执行指令的运行过程中突然被卡死,指令本身不会反馈执行结束,控制系统仍处于不断运算和执行中,当一段时间后测量调节杆受振动等外力作用又突然弹出凹槽处恢复运行,那么要继续完成卡涩前未完成的指令。这个过程中相应高调阀的开度变化将是急剧性的,汽轮机内的进汽量会大幅度相应增减变化,机组负荷也将随着发生剧烈波动,这样机组的安全稳定运行就无法保障,严重者将直接引起汽机跳机的后果。
三、技术改造方案
基于运行发电必要性和项目履约工期的紧迫性,现场已不可能将汽机高调阀的全套LVDT装置更换成其它类型,只能基于现有LVDT装置的结构进行技术改造后解决。LVDT的测量调节杆的卡涩、卡死原因分析清楚后,就为技术改造方向奠定了基础,那就是要解决测量调节杆因机组运行中振动所导致的碰撞问题,只有避免碰撞或者减弱碰撞强度,才能够降低测量调节杆的磨损程度。
根据LVDT装置的结构特点,分析后在装置的本体内部两端重新设置限位件并在测量调节杆顶端设置护套。测量调节杆穿过顶端限位件在滑道中滑动,能减小测量调节杆运动过程中造成的径向偏移,保持测量调节杆与测量线圈的同心度。同时,测量调节杆顶端设置的护套能减小测量调节杆在滑道中的振动幅度,消除振动带来的测量误差和卡涩。护套亦可避免测量调节杆与滑道发生刚性碰撞,增加其使用寿命。
基于LVDT装置的测量调节杆工作环境温度较高——长期超过50℃,非金属限位件的材料既要满足一定的强度,又要光滑、接触摩擦力小,还要具有耐温特点,经过比选后最终选择聚四氟乙烯材料。然后再根据LVDT装置两端的尺寸,加工相匹配的限位垫片后进行改造。
另外,为了保证改造后的使用效果,测量调节杆顶端护套与限位板的通孔之间为过盈配合,使得工作时测量调节杆的活动过程中具有径向的压力以及轴向的阻力,这样既保证了测量调节杆轴向运动的稳定性,又减少了运动过程中受振动干扰产生的径向偏移,大大减少了产生测量误差的概率。
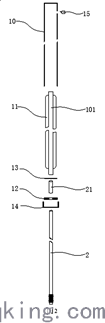
安装于装置本体两端的限位件设计为可拆卸类型,以便于对限位件进行常规的维护和更换。设计改造的LVDT装置的部分示意如下图:
.png)
.png)
注:1-本体、10-外壳、11-测量线圈、12-限位件、13-挡板、14-底盖、15-穿线管、2-测量杆、21-护套、101-测量调节杆滑道
为了降低改造费用,对于已拆下的磨损较轻的LVDT测量调节杆,采取焊接修复处理,然后打磨光滑后再完成改造。对于严重磨损的就直接更换,再按照上述方案对新LVDT装置进行改造。这样每个LVDT装置的改造费用极低,仅仅涉及到聚四氟乙烯板和人工费而已,相比每套价值约两万元的新LVDT装置而言,完全可以忽略。可见技术改造的经济价值之大,这还不算因LVDT故障问题导致机组停机消缺所付出的代价。
技术改造工作完成后,重新安装之前又反复进行了测试试验,确保装置在冷态下运行平稳、无卡涩现象。机组启动之前全部恢复LVDT装置,再按要求对高调阀进行多次拉阀试验,以确保改造的可靠性。
四、改造效果与结论
本项目1#汽轮机高调阀的全部LVDT自从2019年5月份改造后投入正常运行,截至目前已运行近一年时间,期间通过查看运行记录曲线和多次进行就地观察,无任何异常情况。利用机组在质保期间的计划性停机小修机会,对改造过的LVDT装置全部进行检查,测量调节杆无任何类似此前的磨损现象。项目2#汽轮机在2019年6月份运行过程中,也是连续出现LVDT测量调节杆卡涩现象,基于1#汽轮机的成功改造经验,7月份按照同样方法完成2#汽轮机高调阀LVDT的改造,目前也已经稳定运行十个月,状态良好,进一步证实了改造方案的科学性和可行性。
安装在有持续振动环境下的此类线性位移传感器(LVDT),必须要解决测量调节杆受振动导致的碰撞磨损问题,否则装置的运行稳定性无法保证,而且使用寿命将大打折扣。另外,测量调节杆在装置测量线圈滑道内运行的同心度需要保证,否则容易导致信号失真,影响实际调节效果。
本技术改造方案完美的解决了此类LVDT容易出现的上述问题,使用效果良好,具备大力推广使用的价值。