摘要:《化学反应原理》教材中用来验证浓度对反应速率影响的实验药品使用酸性高锰酸钾溶液与不同浓度的草酸溶液反应,笔者在研究中发现了一些不妥之处。文章主要针对这些缺点,结合朗威数字化信息系统实验室的色度传感器做了一个数字化的验证实验,并提出用溴水与葡萄糖为反应物的实验探究。
关键词:浓度 反应速率 实验创新 朗威色度传感器
化学反应速率是用来衡量化学反应快慢的一个物理量。在其众多影响因素中,浓度是一个十分重要的外因。许多教材设计采用草酸与酸性高锰酸钾溶液反应的实验,来考察该因素的影响:通过观察高锰酸钾溶液颜色的褪色,测量反应时间,从而定量地比较出浓度因素的影响,同时还可以计算反应速率。
但笔者在亲身实践中发现,不同浓度的高锰酸钾和草酸的反应中存在两个不利因素:1.物质色彩干扰:大学教材《定量分析化学简明教程》[1]中提到:酸性高锰酸钾与草酸反应过程中,MnO4-将被还原为Mn3+、Mn4+和Mn2+分别呈橙红色、棕黄色、肉色。故溶液在反应过程中会呈现不同颜色变化。因此高锰酸钾溶液褪色判断可能因人而异。可能出现计时误差。当然这个影响不会太大;2.颠覆性的干扰:该反应可能存在一些异常现象。当使用酸浓度太高或者高锰酸钾浓度太大的时候,加入草酸后,草酸浓度小的反而先褪色。如此则颠覆了这个实验的结论。
基于以上原因,笔者认为这个实验不适于用来验证浓度对化学反应速率的影响。
创新性实验设计
1反应的选择
那么要设计采用什么反应来验证更为合适呢?笔者通过文献查阅和实验验证,参考美国化学教材《CHEMISTRY》[2]使用甲酸和溴水的反应,其原理是:
HCOOH+Br2→2HBr+CO2↑ (1)
考虑到甲酸属于危险化学品,不利于进行学生实验;虽然溴也是危险化学品,但高中化学考试说明中明确规定萃取和分液是必做实验的第一个实验。因此笔者设计将甲酸改为葡萄糖,采用不同浓度的葡萄糖溶液与一定浓度的溴水反应来设计验证实验。其原理是还原性的糖与强氧化性的溴水反应,如反应式(2)所示,通过朗威色度传感器记录颜色变化。采用朗威数字化实验设备主要是可以快速、精确、明显的用多媒体数字化地展示实验结果并自动记录实验数据。
CH2OH(CHOH)4CHO+Br2+H2O→CH2OH(CHOH)4COOH+2HBr (2)
2 实验部分
⑴ 溴水的配置
用一个烧杯装30ml纯净水,置于电子天平上,去皮设置为0值。再用长胶头滴管伸入液溴中,吸取底层的液溴。取出后伸入到烧杯内,挤出液溴,直至质量增重1.59—1.60g。迅速引流到100ml的容量瓶中,定容,摇匀。倒入到棕色试剂瓶中保存待用。
⑵ 葡萄糖溶液的配置
分别配置0.1mol/L、0.2mol/L、0.5mol/L、1.0mol/L的葡萄糖溶液,此溶液配置没有特别的注意事项,在此不累述。
⑶仪器设备准备
5只5ml的量筒,专筒专用,多次实验时就不必清洗。一台电脑或多媒体投影设备。一个数据采集器,一个色度传感器,以及对应的数据线。擦镜纸数张,用来檫干比色皿上的水珠。
⑷ 实验步骤
(1)在安装有“朗威实验6.9”的电脑上连接数据采集器,连接色度传感器。校准。
(2)在比色皿中加入2.0ml 0.1mol/L溴水。
(3)将比色皿放入色度传感器中。选择“R”透光度。
(4)倒入0.1mol/L葡萄糖溶液2.0ml。立即点击开始记录数据。
(5)通过软件记录透过率达100%时所用的时间。
(6)重复步骤2至5,将步骤4中的葡糖糖溶液更换成0.2mol/L、0.5mol/L、1mol/L
⑸注意事项
(1)朗威色度传感器共有4个发光二极管:紫色(430nm)、蓝色(470nm)、绿色(565nm)、红色(635nm)。而溴水是红棕色,故选用红色(R)透光。[3]
(2)本实验中物质的混合在比色皿中进行,为保证实验起始条件相同,不振荡,反应在自然扩散下进行。
(3)溴以挥发,实验时应随配随用,实验在避光条件下进行。
3 实验结果与讨论
⑴ 实验结果
.png)
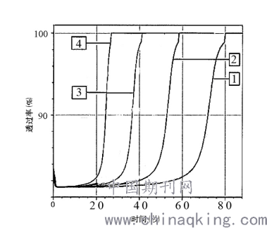
图1 不同葡萄糖溶液浓度下透光率—时间曲线
表1 不同葡萄糖浓度下反应的褪色时间
图1是用“朗威实验6.9”自动描绘出来的图像,表示不同葡萄糖溶液浓度下透光率和时间的曲线。图像中透光率为100%时,即反应变为无色溶液,也就是反应结束的时刻。表1为通过三次平行实验后取得的不同浓度葡萄糖溶液和溴水反应到达终点的平均褪色时间。实验结果表明,其他条件不变时,浓度越大,反应速率越快。
⑵ 讨论
①优缺点分析
本实验的缺点是使用了溴水,考虑到考试说明中将萃取分液实验定位为第一个必做实验,因此仍然适合于设计学生实验。但该药品有一定腐蚀性,易挥发,需要随配随用。该实验可以同时设计验证温度对反应速率的影响,却不能同时验证催化剂对化学反应速率的影响。有待于找到合适的催化剂。然而本实验优点十分明显,排除了使用高锰酸钾时颜色变化太多因素。用朗威传感色度传感器数字化地展示实验结果。可以减少因不同人观察判断终点的颜色误差。无需再特意用秒表计时。克服因浓度过大而导致反应结论相反的可能性。通过多媒体展示,可以十分清晰的展示数字化的结果。
② 附加建议
本实验可以设计在计算化学反应速率时,同时感受不同浓度浓度对反应速率的影响。可以解决计算化学反应速率的枯燥性。通过现场实验得到具体数值,进而生动地计算。可以提高学生的学习兴趣。
致谢
感谢厦门大学化学化工学院张宏博士和洛江区进修学校刘双俊老师对本实验的指导建议。
参 考 文 献
[1] 彭崇慧等.定量分析化学简明教程,第2版,北京:北京大学出版社 1997:6
[2] Raymond Chang.《CHEMISTRY》[M].USA:Mcgraw-Hill,Inc,1994:515-520
[3] 谢晓青等.影响草酸与酸辛高锰酸钾溶液反应速率因素的探究,化学教学,2012,12,56-58